CLK扩散式旋风除尘器,XZZ型旋风除尘器

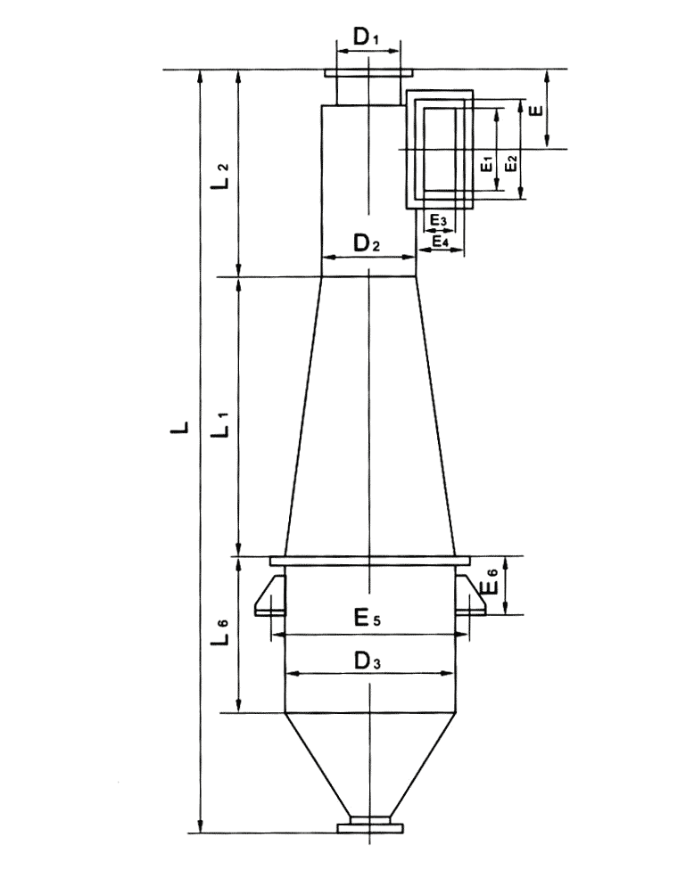
  CLK扩散式旋风除尘器,适用于捕集干燥的非纤维性的颗粒状粉尘,主要特点是筒身呈倒圆锥形,因而减少了含尘气体自筒身中心短路到出口去的可能性,并装有圆锥形的反射屏,防止两次气流将已经分离下来的粉尘重新卷起,被上升气流带出,因而提高了除尘效率。 适用于冶金、铸造、建材、化工粮食、水泥等行业中,捕集干燥的非纤维性颗粒状粉尘和烟尘除尘,可做回收物料设备使用。

技术性能  
型号规格 进口风速(M/S) 处理风量(m2/h) 阻力(Pa) 效率(%) 外型尺寸(mm) 重量(kg)
CLK-ф150 10-20 210-420 100 95 380×1210 33
CLK-ф200 370-735 466×1916 52
CLK-ф250 595-1190 566×2039 75
CLK-ф300 840-1680 631×2447 103
CLK-ф350 1130-2270 716×2866 143
CLK-ф400 1500-3000 808×3277 225
CLK-ф450 1900-3800 893×3695 279
CLK-ф500 2320-4650 983×4106 347
CLK-ф600 3370-6750 1150×4934 612
CLK-ф700 4600-9200 1325×5176 819


旋风除尘器

  • 查看与 | 
  • 除尘器 | 
  • 旋风除尘器 | 
  • XZZ型旋风除尘器 | 
  • 相关产品
  •  相关新闻
     推荐产品
    上一篇:没有了