
JHF、JBC型规格、性能、参数表
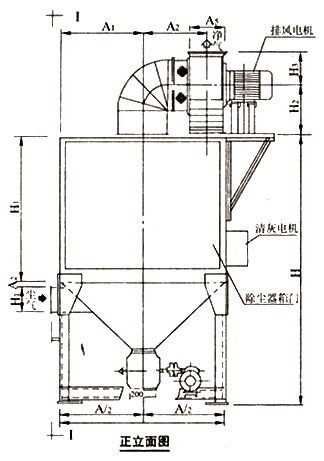
JHF、JBC型脉动反吹扁布袋除尘器适应范围广泛,凡机械加工、铸造清砂、冶金、化工、建材、耐火材料、粮食加工、医药等行业含尘气体的净化均可使用,电弧炉等细少粉尘的净化,有价值粉尘回收尤为使用。
JHF型脉动反吹扁袋除尘器
| 型号 规格 | 过滤面积 | 圈数 | 袋数 | 袋长(米) | 处理风量 (米3/时) |
阻力 公斤/米2 |
效率(%) | 外形尺寸 (直径×高) (mm) |
重量 公斤 |
参 考 价格元 |
|
| JHF-40 | AB | 40 | 1 | 27 | 2 | 2400-3600 4800-6000 |
99.5 | 1770×4980 | 2210 | 35672 | |
| JHF-65 | AB | 65 | 1 | 27 | 3 | 3900-5800 7800-9150 |
1770×5980 | 2967 | 46366 | ||
| JHF-85 | AB | 85 | 1 | 27 | 4 | 5100-16000 10200-12600 |
1770×6840 | 3762 | 57090 | ||
| JHF-110 | AB | 110 | 1 | 27 | 5 | 5700-6800 11400-14300 |
1770×8180 | 4879 | 74532 | ||
| JHF-120 | AB | 120 | 2 | 75 | 2 | 6600-9900 13200-16500 |
Φ2710×8600 | 5624 | 81668 | ||
| JHF-180 | AB | 180 | 2 | 75 | 3 | 10800-11200 17000-21600 |
Φ2710×9600 | 7406 | 103263 | ||
| JHF-240 | AB | 240 | 2 | 75 | 4 | 14400-21600 28000-36000 |
Φ2710×10590 | 8792 | 123123 | ||
JHF型脉动反吹扁袋除尘器
| 型号 规格 | 过滤
面积 |
圈数 | 袋长米 | 袋数条 | 处理风量 (米3/时) |
阻力公斤/米2 | 效率(%) | 外形尺寸 长×宽×高 (mm) |
重 量 (公斤) |
参 考 价格元 |
|
| JHF-310 | AB | 310 | 2 | 5 | 75 | 18600-12000 32000-46700 |
99.5 | Φ2710×10590 | 9784 | 146459 | |
| JHF-350 | AB | 350 | 3 | 3 | 147 | 21400-31500 42000-52500 |
Φ3550×9780 | 11230 | 173780 | ||
| JHF-470 | AB | 470 | 3 | 4 | 147 | 28200-42500 56400-71000 |
Φ3550×10870 | 13264 | 196837 | ||
| JHF—610 | AB | 610 | 3 | 5 | 147 | 36000-5400 72000-90000 |
Φ3550×11980 | 14825 | 227643 | ||
| JHF-775 | AB | 775 | 4 | 4 | 240 | 46300-70000 92600-117000 |
Φ4350×12570 | 16942 | 264327 | ||
| JHF-875 | AB | 875 | 4 | 4.5 | 240 | 52500-78750 105000-131250 |
Φ4350×12070 | 19103 | 305890 | ||
| JHF-1000 | AB | 1000 | 4 | 5.2 | 240 | 60000-90000 120000-150000 |
Φ4350×13270 | 22375 | 325667 | ||
技 术 性 能
规格、性能、参数选用表 附表1
| 规 格
性能参数 |
JBC-20 | JBC-32 | JBC-45 | |
| 过滤面积 m2 | 20 | 32 | 45 | |
| 处理风量 m3/h | 1800-2400 | 2880-3840 | 4050-5400 | |
| 过滤风速 m/min | 1.5-2 | 1.5-2 | 1.5-2 | |
| 阻力 Pa | 980 | 980 | 980 | |
| 效率 % | 99 | 99 | 99 | |
| 使用温度 ℃ | <150 | <150 | <150 | |
| 风
机 |
型 号 | 4-72-11 | 4-72-11 | 4-72-11 |
| 风量 m3/h | (1975-3640) | (2430-5408) | (4020-7420) | |
| 风压 Pa | 1245-784 | 1617-1068 | 1999-1313 | |
| 电机型号 | Y90-L-2 | Y100L-2 | Y132S1-2 | |
| 电机容量KW | 2.2 | 3 | 5.5 | |
| 振打 机 |
振幅 mm | 4 | 4 | 4 |
| 电机型号 | Y90S-4 | Y90S-4 | Y90S-4 | |
| 电机容量KW | 1.1 | 1.1 | 1.1 | |
| 排料 阀 |
规 格 | YJD-6200×200 | YJD-6200×200 | YJD-6200×200 |
| 电机容量KW | 0.6 | 0.6 | 0.6 | |
![]() |
![]() |
![]() |
![]() |
![]() |
|
|
|