
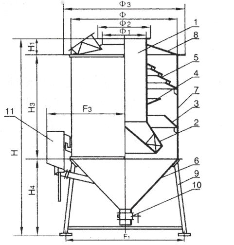
XNT型湿式旋流强化凝聚脱硫除尘器
该湿式除尘器是集除尘.脱硫.自排或机械排灰及补水自控于一体的综合除尘设备装置。具有操作管理方便,溶液左右除尘器内循环使用,耗水少,运行经济等优点。湿式除尘器采用中科院最新研究成果TO树脂作防腐耐磨处理,壳体采用金属或陶瓷板块砌筑及金属陶瓷混合结构,确保使用寿命,不论技术与经济上都可与麻石除尘器媲美。它是各种工业,电站锅炉,尤其对煤粉,流化床等锅炉脱硫理想的技术装备。湿式除尘器的分割粒经小于0.5uM。
| 型号 | 烟气量m3/h | 除尘效率% | 烟气排放浓度 (mg/Nm3) |
林格曼黑度 (级) |
脱硫率(%) | 阻力(Pa) |
| XNT-2 | 4500~6000 | 95-99 | <100 | <1 | 75-85 | 1000-1500 |
| XNT-4 | 9000-11000 | |||||
| XNT-6 | 15000-16000 | |||||
| XNT-8 | 19000-21000 | |||||
| XNT-10 | 23000-26000 | |||||
| XNT-15 | 34500-39000 | |||||
| XNT-20 | 46000-52000 | |||||
| XNT-35 | 85000-92000 | |||||
| XNT-40 | 92000-115000 | |||||
| XNT-65 | 150000-190000 |
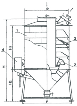
XST型旋流水浴脱硫除尘器
在湿式除尘器中,水浴除尘器是最受欢迎一种结构简单,造价低,便于维护管理的除尘器。此种类型已历经十五年以来的运行时间,充分证明其运行的稳定可靠,且可因地制宜用砖石或混凝土砌筑结构,适用于较小容量锅炉的烟气净化与脱硫。
为提高除尘脱硫效率,进一步对喷咀进行技术改造设计,把两项流体引旋流机制,保进了膜化与凝聚的形成,强化了鼓泡作用进一步提高了除尘与脱硫效能,该湿式除尘器取得了国家专利。
|
型号 |
锅炉容量t/h |
||||||
| 2 | 4 | 6 | 8 | 10 | 15 | 20 | |
| 风量范围 m3/h |
4600-6000 | 9000-11000 | 10000-13500 | 16000-22000 | 24000-28000 | 33000-37500 | 46000-54000 |
| 除尘总效率% | 95-98 | ||||||
| 脱硫效率% | 75-80 | ||||||
| 阻力Pa | 600-800 | ||||||
| 林格曼黑度 | <1 | ||||||
| 分割粒经uM | <1 | ||||||
| 水耗I/m3 | 0.10-0.30 | ||||||
![]() |
![]() |
|||||||
|
||||||||
|
|